Shear Strength | HELLA
Testing of Shear Strength
In many publications dealing with the ECE-R90 test, the wording shear strength appears.
But what does this really mean?
The testing of shear strength checks the strength of the connection between the friction material and the pad's base plate. During the testing process, so much force is deliberately exerted so as to tear the friction lining mass away from the base plate.
The objective of this test is to guarantee that the friction material will not work loose from the pad's base plate throughout its entire service life. A sudden and complete failure of the brake could be the result if such loosening were to occur.
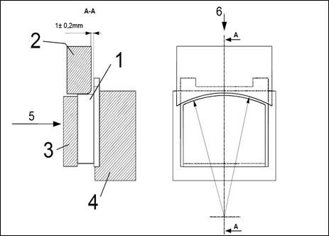
The following diagram illustrates the testing procedure:
- Brake lining
- Shear gauge
- Counter bracket
- Support apparatus
- Contact pressing force
- Shear force
The brake lining (1) is placed in a support apparatus (4) and held there with a counter bracket (3) under slight pressure.
The shear gauge (2) is driven against the friction mass and then the shear force is continuously increased until the friction mass is pulled away from the pad's base plate.
The shear strength is the quotient calculated out of the force measured during the wrenching away of the lining mass and the surface of the friction material.
The EU regulation, ECE R90, requires a minimum shear strength of 250 N/mm². This value is considerably exceeded by values found in all our products.