Kompressibilitet | HELLA
I mange dokumenter om ECE-R90-godkendelse forekommer begrebet kompressibilitet.Hvad forstås der herved?Ved belægningens kompressibilitet forstås bremsebelægningens "sammentrykkelighed", dvs. hvor meget belægningens tykkelse ændres under tryk. Den måles i μm. En μm er en tusindedel millimeter.Denne enhed illustrerer, hvor lidt en bremsebelægning egentlig kan sammentrykkes. Alligevel forekommer der betydelige forskelle, som føreren kan høre eller mærke.En høj kompressibilitet indebærer en „blød“ belægning. Bløde belægninger giver generelt en høj bremsekomfort (skrig / ruflen). Men hvis belægningerne for bløde, mærker føreren en lang pedalvandring. Dvs. at pedalen skal trædes langt ned, før den ønskede bremsevirkning opnås. Det giver ikke nogen god, sikker fornemmelse ved opbremsning. Desuden kan det efter en kraftigt opbremsning forekomme, at bremseklodserne slæber meget kraftigt mod bremseskiverne. Det medføre midlertidigt større slid af bremseklodser og bremseskiver samt øget brændstofforbrug.En lav kompressibilitet indebærer, at der er tale om en „hård“ bremseklods. De ovennævnte ulemper ved for bløde belægninger forekommer dermed ikke. Men risikoen øges for bremseskrig og ruflen ved opbremsning fra høje hastigheder. Det mærker personerne i bilen ved vibrationer i rattet eller i bremsepedalen. I ekstreme tilfælde mærkes bremseruflen også som brummelyde.Kunsten er nu at finde den rette hårdhed for bremsebelægningerne til bilen og dens bremsesystem. Det opnås ved omfattende målinger og kørselsforsøg.Illustration af testproceduren:Bremsebelægningen (2) lægges med friktionssiden mod en massiv, slebet og opvarmet stålplade (1). Via en stempeladapter (3), der svarer til stemplet i kaliberen, presser målestemplet i testanordningen (4) bremsebelægningen sammen. Den kraft, som bremsebelægningen presses sammen med, svarer til et bremsetryk på 160 bar. En bevægelsessensor (5) måler den afstand, som belægningen kan sammenpresses. Målingen foretages ved stuetemperatur og ved en 400 °C varm stålplade. Forskellen må ved stuetemperatur være maks. 2% og ved 400 °C maks. 5% af belægningens tykkelse.Illustration:Kompressibilitets-værdierne for HELLA bremsebelægninger ligger klart under de grænseværdier, der er fastlagt af lovgiverne i ECE-R90.
But what does this really mean?
The compressibility of a brake lining refers to the degree that a brake lining can be "pressed together"; in other words, tests are run to see how much the brake lining strength alters when subjected to pressure. This is measured in µm. A μm is one thousandth of a mm.
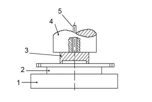
Illustration of a testing procedure:
The brake lining ( 2 ) is laid, friction side down, on a solid, polished and heated steel plate ( 1 ). By means of a piston adapter ( 3 ) which corresponds to the type of piston used in the brake itself, the measuring piston of the testing device ( 4 ) presses the brake lining together. The force with which the lining is pressed together corresponds to a braking pressure of 160 bar. A distance sensor ( 5 ) measures how much i.e. how far, the lining can be pressed together. The measurements are carried out at room temperature and when the steel plate is heated to 400°C. The difference to the thickness of the lining can amount to a maximum of 2% at room temperature and a maximum of 5% at a temperature of 400°C.
Diagram:
The brake lining ( 2 ) is laid, friction side down, on a solid, polished and heated steel plate ( 1 ). By means of a piston adapter ( 3 ) which corresponds to the type of piston used in the brake itself, the measuring piston of the testing device ( 4 ) presses the brake lining together. The force with which the lining is pressed together corresponds to a braking pressure of 160 bar. A distance sensor ( 5 ) measures how much i.e. how far, the lining can be pressed together. The measurements are carried out at room temperature and when the steel plate is heated to 400°C. The difference to the thickness of the lining can amount to a maximum of 2% at room temperature and a maximum of 5% at a temperature of 400°C.